元股证券:ygzq.hk

福田汽车涨停,中通客车涨超5%,比亚迪、中集车辆、安凯客车、东风股份、一汽解放等跟涨。
举报 第一财经广告合作,请点击这里此内容为第一财经原创,著作权归第一财经所有。未经第一财经书面授权,不得以任何方式加以使用,包括转载、摘编、复制或建立镜像。第一财经保留追究侵权者法律责任的权利。如需获得授权请联系第一财经版权部:banquan@yicai.com 相关阅读

横琴口岸提前29天客流破千万
截至2026年4月9日,横琴口岸本年度出入境客流总量突破1000万人次,较去年提前29天创开通以来最快纪录,反映琴澳往来日益密切、融合持续深化。
54 04-09 09:41

哈啰回应被点名:平台未直接经营过线下门店
平台未直接经营过线下门店。
47 03-15 23:06

知情人士:仰望汽车自动驾驶解决方案供应商是Momenta,不是卓驭
知情人士:仰望汽车自动驾驶解决方案供应商是Momenta,不是卓驭
配资炒股 66 2025-12-30 21:01

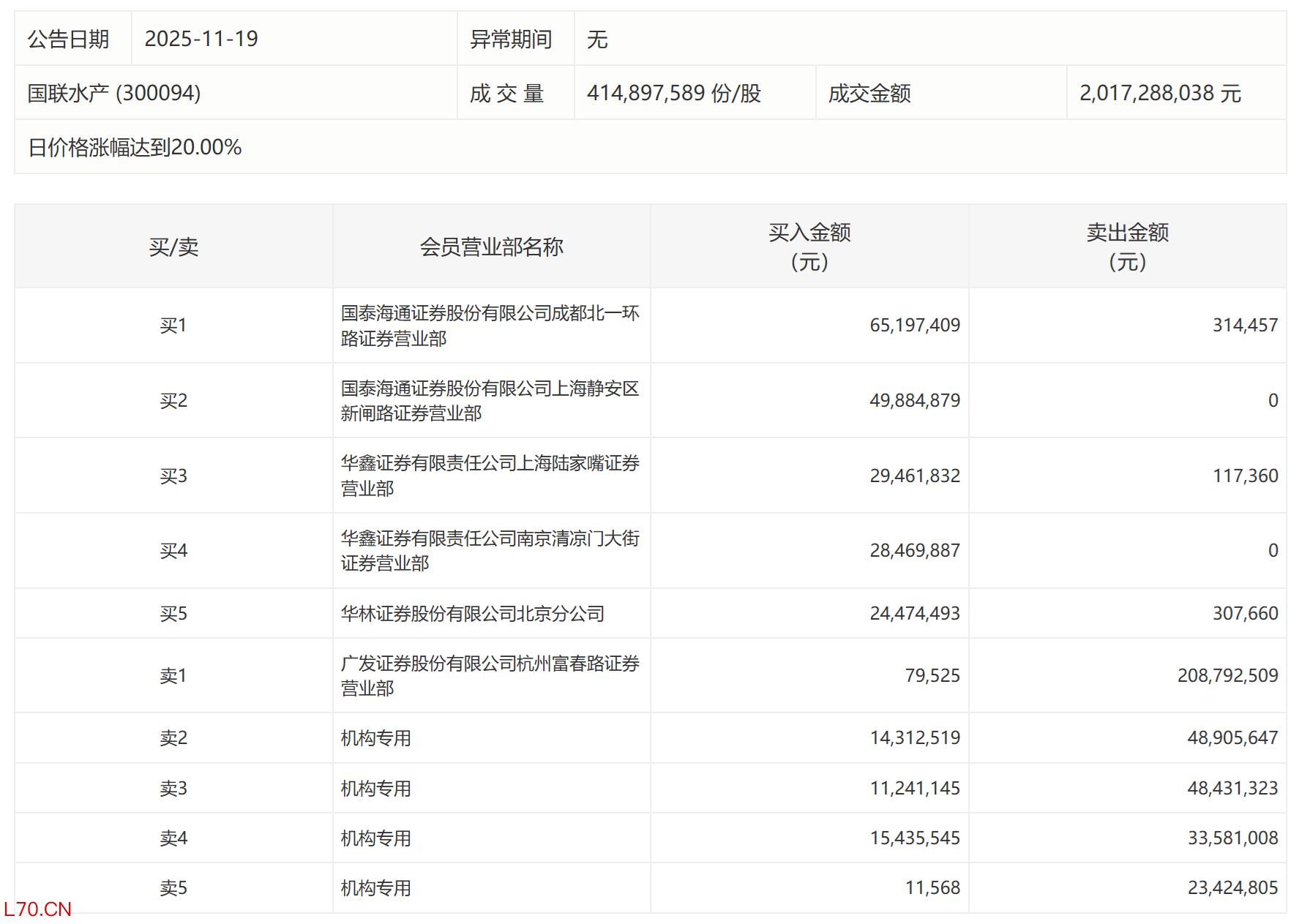
国联水产今日20%涨停,4家机构专用席位净卖出1.13亿元
国联水产今日20%涨停,4家机构专用席位净卖出1.13亿元
2025-11-19 17:24

粤桂股份今日涨停 深股通席位买入1.8亿元并卖出2亿元世纪证券
粤桂股份今日涨停 深股通席位买入1.8亿元并卖出2亿元
2025-11-14 16:27 一财最热 点击关闭
元股证券|正规配资全牌照实盘证券官网提示:本文来自互联网,不代表本网站观点。